Nejdat delioğlu
TURKEY • + Follow
Edit Project
Components
|
Arduino Nano V3 |
x 1 |
Description
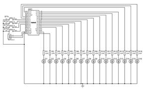
Arduino Nano Kullanarak 16 Led Animasyon Devresi
Bu projenin gerberini indirip sizde yapabilirsiniz
Mar 03,2022
435 views
Arduino Nano Kullanarak 16 Led Animasyon Devresi
Gerber dosyasini indirip sizde yapabilirsiniz.
435
0
0
Published: Mar 03,2022
Standard PCB
Download Gerber file 10
BOM(Bill of materials)
Purchase
Donation Received ($)
PCBWay Donate 10% cost To Author
Only PCB
PCB+Assembly
*PCBWay community is a sharing platform. We are not responsible for any design issues and parameter issues (board thickness, surface finish, etc.) you choose.
Copy this HTML into your page to embed a link to order this shared project
Copy
Under the
Attribution-ShareAlike (CC BY-SA)
License.
Raspberry Pi 5 7 Inch Touch Screen IPS 1024x600 HD LCD HDMI-compatible Display for RPI 4B 3B+ OPI 5 AIDA64 PC Secondary Screen(Without Speaker)
BUY NOW- Comments(0)
- Likes(0)
Upload photo
You can only upload 5 files in total. Each file cannot exceed 2MB. Supports JPG, JPEG, GIF, PNG, BMP
0 / 10000
It looks like you have not written anything. Please add a comment and try again.
You can upload up to 5 images!
Image size should not exceed 2MB!
File format not supported!
View More
View More
VOTING
0 votes
- 0 USER VOTES
0.00
- YOUR VOTE 0.00 0.00
- 1
- 2
- 3
- 4
- 5
- 6
- 7
- 8
- 9
- 10
Design
1/4
- 1
- 2
- 3
- 4
- 5
- 6
- 7
- 8
- 9
- 10
Usability
2/4
- 1
- 2
- 3
- 4
- 5
- 6
- 7
- 8
- 9
- 10
Creativity
3/4
- 1
- 2
- 3
- 4
- 5
- 6
- 7
- 8
- 9
- 10
Content
4/4
More by Nejdat delioğlu
-
ESP 8266 İle RGB Led Devresi yapalım
Bu projenin Gerber dosyasını indirip sizde yapabilirsiniz.
-
Uzun Menzilli FM Vericisi Nasıl Yapilir?
Bu projeyi sizde yapabilirsiniz
-
DIY Inverter Circuit from 12 Volts to 220 Volts
HEF 4017 entegre devre, NE555P zamanlayıcı entegresi, IRFZ44 MOSFET transistörleri ve 100 Watt'lık b...
-
Otomatik Şarj Kesme Kontrol Devresi
In this step-by-step guide, we will show you how to create an automatic charge cut-off control circu...
-
yumuşak yolverici
Bu video, evinizdeki elektrikli aletleri korumanıza yardımcı olacak bir elektrik devresini açıklar. ...
-
Inverter Circuit | İnverter devresi
A very simple project Download the gerber file and order it and you can do it.
-
How Echo Microphones Are Made
You can do this project yourself.
-
Sumo Robot Nasıl Yapilir
Bu projenin gerber dosyasini indirip sizde yapabilirsiniz
-
LM337 Ayarlanabilir Güç Kaynağı
Şema ve gerberi indirip bu projeyi sende yapabilirsin.
-
Otomatik Elektronik Termostat
Gerber dosyasini indirip sizde yapabilirsiniz
-
Kendin Yap LCR Metre
Bu cihazi stl dosyasini indirip sizde yapabilirsiniz
-
18650 Pil Sarj Cihazi Yapalim
Bu projeyi gerberini indirip sende yapabilirsin
-
LA4440 Stereo Mini Amfi Devresi Nasil Yapilir?
Gerber dsyasini ?ndirin ve sizde yapin
-
Otomatik Akü Sarj Kesme Devresi
Bu projenin gerber dosyasini ndirip sizde yapabilirsiniz.
-
100Wat ?nvertor Devresi
Bu projeyi gerber dosyas?n? indirip sizde yapabilirsiiniz
-
Altin arama Dedektorü
Bu projeyi sizde yapabilirsiniz
-
30WATT Amfi Devresi Nail yapilir?
Bu projeyi gerber dosyas?n? indirip yapabilirsiniz
-
Otomatik Su Deposu
Bu projenin gereber doyasini indirip sizde yapabilirsiniz
You may also like
-
ARPS-2 – Arduino-Compatible Robot Project Shield for Arduino UNO
78 0 0 -
A Compact Charging Breakout Board For Waveshare ESP32-C3
553 3 4 -
AI-driven LoRa & LLM-enabled Kiosk & Food Delivery System
543 2 0 -
-
-
-
ESP32-C3 BLE Keyboard - Battery Powered with USB-C Charging
752 0 1 -
-
mammoth-3D SLM Voron Toolhead – Manual Drill & Tap Edition
710 0 1 -
-
AEL-2011 Power Supply Module
1389 0 2







